Samsung memamerkan layar transparan dalam paten terbarunya. Seperti apa penampilan dan cara kerja layar tersebut? Mari kita lihat.
Sudah bukan rahasia lagi kalau Samsung adalah pencetus berbagai teknologi layar spektakuler. Tentu masih hangat di ingatan kita betapa hebatnya Samsung dalam mencetuskan ponsel layar lipat pertama di dunia, lewat Samsung Galaxy Fold dan Flip beberapa tahun lalu.
Sejak saat itu, Samsung mulai mematenkan berbagai teknologi layar baru yang tidak kalah gila. Mulai dari teknologi layar geser, layar lipat tiga, dll. Yah, walaupun sampai sekarang belum ada satu pun yang resmi debut di produk ponsel.
Nah baru-baru ini, Samsung kembali dilaporkan telah mengajukan paten baru. Dalam paten tersebut, Samsung memamerkan teknologi layar transparan.
Paten tersebut muncul di situs web World Intellectual Property Organization (WIPO). Paten tersebut memamerkan tampilan yang bisa memberi kita gambaran tentang ponsel layar transparan di masa depan.

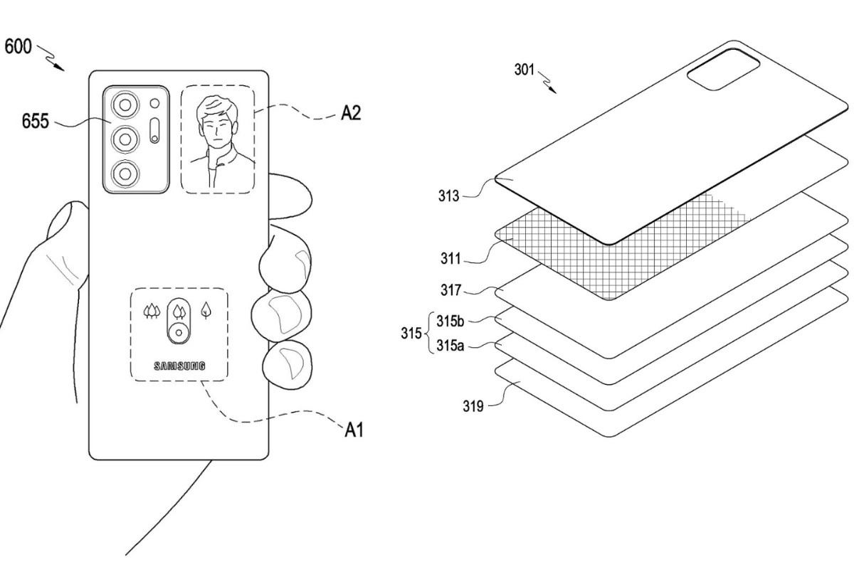
Berdasarkan gambar yang tertera di paten, kamu bisa lihat ada ponsel dengan layar sekunder di bodi belakang. Walau teknologi semacam ini sudah pernah terlihat sebelumnya, tapi versi yang ada di paten kali ini tampak sedikit berbeda.
Panel layar belakang Samsung akan transparan atau semi transparan. Sehingga bisa menampilkan gambar yang dipancarkan oleh lapisan kedua di bawahnya. Dengan begitu, Bagian belakang ponsel juga bisa berfungsi seperti layar standar (atau mirip dengan always-on-display).

Dalam keterangan yang ada di paten, panel tersebut bisa disesuaikan untuk menampilkan desain yang berbeda, informasi perangkat, dll. Selanjutnya, ketika layar dipasangkan dengan kamera, layar tersebut bisa menampilkan live view.
Jadi paten ini menunjukkan bagaimana bagian belakang ponsel bisa tetap memberi informasi pada pengguna. Misalnya, ketika ponsel tertelungkup di meja.
Walaupun Samsung sudah mengajukan paten, tapi belum tentu teknologi benar-benar akan debut di produk asli. Pasalnya Samsung sudah pernah mengajukan paten layar inovatif. Tapi sampai sekarang belum ada kabar mengenai kejelasan teknologi tersebut.




